Apa yang harus dilakukan jika pompa air Xiaomi Smart Pet Fountain tersumbat?

*Halaman ini diterjemahkan secara otomatis dari artikel berbahasa Inggris
Akumulasi rambut, masuknya kotoran dan debu, dan pembersihan yang jarang dapat menyebabkan penyumbatan pompa air di Xiaomi Smart Pet Fountain. Harap bersihkan pompa air secara teratur untuk memastikan perangkat beroperasi dengan baik.
Untuk membersihkan pompa air dari Xiaomi Smart Pet Fountain, silakan lihat langkah-langkah berikut:
1. Angkat penutup penyimpanan air dan keluarkan pompa air.
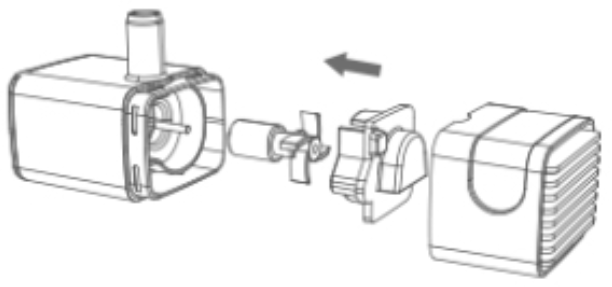
2. Lepaskan spons filter pompa air dan penutup filter pompa air.
3. Lepaskan penutup filter kedua dari pompa air.
4. Lepaskan bilah kipas suspensi magnetik.
5. Bersihkan spons filter pompa air, penutup filter pompa air, penutup filter lapisan kedua pompa air, bilah kipas suspensi magnetik, bodi utama pompa air, dan bagian-bagian kecil lainnya.
6. Instal secara berurutan.